الرسم الفني الكهربائي

كتاب الرسم الفني الكهربائي كتاب يتناول اساسيات الرسم الفني ويعرض الرموز الكهربائية للتمديدات وا Power Engineering Electrical Circuit Diagram Technical Drawing

كتاب الرسم الفني الكهربائي كتاب يتناول اساسيات الرسم الفني ويعرض الرموز الكهربائية للتمديدات وا Power Engineering Electrical Circuit Diagram Technical Drawing

تحميل كتاب الرسم الفني الكهربائي موسوعة الكهرباء والتحكم

تحميل كتاب الرسم الفني الكهربائي موسوعة الكهرباء والتحكم

تحميل كتب الرسم الفني الكهربائي مجانا موسوعة الكهرباء والتحكم

تحميل كتب الرسم الفني الكهربائي مجانا موسوعة الكهرباء والتحكم

تحميل كتب الرسم الفني الكهربائي Technical Drawing

تحميل كتب الرسم الفني الكهربائي Technical Drawing

الرسم الفني الكهربائي

الرسم الفني الكهربائي

الرسم الكهربائي Hisour والفن تاريخ معلومات السفر

الرسم الكهربائي Hisour والفن تاريخ معلومات السفر

الرسم الكهربائي Hisour والفن تاريخ معلومات السفر

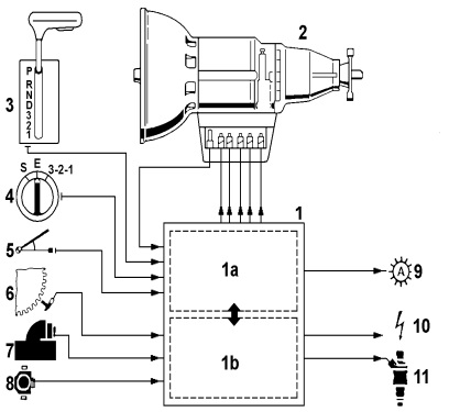
المكونات يتكون أي رسم عمل كهربائي من خطوط ورموز وأبعاد وترميزات لنقل تصميم الهندسة إلى العمال بدقة الذين.

الرسم الفني الكهربائي. حصريا تحميل كتاب الرسم الفني الكهربائي مجانا pdf اونلاين 2020 p كتاب رائع منهاج سعودي رفع م عبد الوهاب كعود كتب الإلكترونيات والطاقة قسم يختص بالكتب المتعلقة بالالكترونيات والاجهزة يحتوي القسم مجموعة من اساسيات. كتاب الرسم الفني الكهربائي يمكنك تحميله من خلال الضغط على الزر الموجود بالاسفل حمل كتاب الرسم الفني الكهربائي pdf. منهاج سعودي رفع م عبد الوهاب كعود الأقتباس هو النقل الحرفي من المصدر ولا يزيد عن عشرة أسطر. عنوان الكتاب اسم المؤلف نوع الملف المشاهدات تحميل.

كتاب الرسم الفني الكهربائي pdf الكلية التقنية مادة الرسم الفني الكهربائي تمارين رسم هندسي تخصصات الآلات والمعدات الكهربائية والقوى الكهربائية ومشغل لوحة التحكم كتب الكهرباء بروابط مباشرة مجانا pdf. منهاج سعودي رفع م عبد الوهاب كعود. أضف اقتباس من الرسم الفني الكهربائي المؤلف.

تحميل كتاب الرسم الفني الكهربائي موسوعة الكهرباء والتحكم

تحميل كتاب الرسم الفني الكهربائي موسوعة الكهرباء والتحكم

كتاب الرسم الفني الكهربائي Pdf الكلية التقنية

كتاب الرسم الفني الكهربائي Pdf الكلية التقنية

تحميل كتاب الرسم الفني للإلكترونيات موسوعة الكهرباء والتحكم

تحميل كتاب الرسم الفني للإلكترونيات موسوعة الكهرباء والتحكم

الرسم الفني الكهربائي وتصميم المخططات الكهربائية الهندسية

الرسم الفني الكهربائي وتصميم المخططات الكهربائية الهندسية

طرق رسم الدوائر الكهربائية علم الكهرباء ا هيثم سعيد Youtube

طرق رسم الدوائر الكهربائية علم الكهرباء ا هيثم سعيد Youtube

ورق موصل كهربائي مقابس ومآخذ طاقة التيار المتردد موصل المقطورة المعيار الفني الرسم الفني زاوية أبيض Png

ورق موصل كهربائي مقابس ومآخذ طاقة التيار المتردد موصل المقطورة المعيار الفني الرسم الفني زاوية أبيض Png

مخطط الأسلاك الأسلاك الكهربائية والكابلات الرسم الفني على الطرق الوعرة تلفزيون زاوية Png

مخطط الأسلاك الأسلاك الكهربائية والكابلات الرسم الفني على الطرق الوعرة تلفزيون زاوية Png

المخططات والرموز الكهربائية

المخططات والرموز الكهربائية

تحميل كتاب الرسم الفني موسوعة الكهرباء والتحكم

تحميل كتاب الرسم الفني موسوعة الكهرباء والتحكم

كتاب الرسم الفني في التبريد والتكييف تعليم صيانة المحمول الجوكر Facebook

كتاب الرسم الفني في التبريد والتكييف تعليم صيانة المحمول الجوكر Facebook

أنواع الرسومات لتصميم المباني مقالات

أنواع الرسومات لتصميم المباني مقالات

امتحان رسم فني تخصص تركيبات ومعدات كهربية دبلوم ثانوي صناعى السودان 2015

امتحان رسم فني تخصص تركيبات ومعدات كهربية دبلوم ثانوي صناعى السودان 2015

تحميل كتاب الرسم الفني الكهربائي Pdf مكتبة الفريد الإلكترونية

تحميل كتاب الرسم الفني الكهربائي Pdf مكتبة الفريد الإلكترونية

مذكره رسم فني للصف الثالث الثانوي مستر سعيد سامي Mr Saeed Samy Facebook

مذكره رسم فني للصف الثالث الثانوي مستر سعيد سامي Mr Saeed Samy Facebook

الرسم الرسم الفني إلكترونيات الشبكة الكهربائية المخططات زاوية إلكترونيات Png

الرسم الرسم الفني إلكترونيات الشبكة الكهربائية المخططات زاوية إلكترونيات Png

تحميل مجموعة كتب عن الرسم الفني الكهربائي Technical Drawing الهندسة الكهربائية منتدى المهندس

تحميل مجموعة كتب عن الرسم الفني الكهربائي Technical Drawing الهندسة الكهربائية منتدى المهندس

Dvq3n3kjdve3um

Dvq3n3kjdve3um

الرسم الفني الكهربائيpdf

الرسم الفني الكهربائيpdf

الرموز الكهربائية في التمديدات المنزلية Authorstream

الرموز الكهربائية في التمديدات المنزلية Authorstream

حمل مراجعة ليلة الامتحان فى الرسم الفنى للصف الثالث الثانوي الصناعي ملخص الرسم الفنى دبلوم صناعى

حمل مراجعة ليلة الامتحان فى الرسم الفنى للصف الثالث الثانوي الصناعي ملخص الرسم الفنى دبلوم صناعى

الرسم الفني لميكانيكا السياراتpdf

الرسم الفني لميكانيكا السياراتpdf

كتاب الرسم الفني كتاب مميز في موضوع الرسم الفني ويتناول مجموعة من الوحدات وهي وحدة العمليات الهندسية الأساسية Technical Drawing Power Engineering Engineering

كتاب الرسم الفني كتاب مميز في موضوع الرسم الفني ويتناول مجموعة من الوحدات وهي وحدة العمليات الهندسية الأساسية Technical Drawing Power Engineering Engineering

الموسوعة العربية الرسم الهندسي

الموسوعة العربية الرسم الهندسي

Din 72580 الموصل الكهربائي Iso 11446 Din Norm الرسم الفني Text وغيرها أحادية اللون Png

Din 72580 الموصل الكهربائي Iso 11446 Din Norm الرسم الفني Text وغيرها أحادية اللون Png

Source : pinterest.com